Photo by Daniel Eledut on Unsplash
一個人的智慧與能力能改變這個世界嗎?
亞馬遜(Amazon)創辦人,貝佐斯的例子也許能回答這個問題:「可以!」
他是目前人類歷史上,首位「兆萬富翁」。持正反兩面的觀點的讀者;無論是好奇他如何創立亞馬遜生態系帝國?又或者是認為這人只是藉由血汗倉庫來壓榨人力的殘酷資本家?這本《貝佐斯經濟學》都相當值得一看!
人性矛盾複雜,本就非善、惡兩面能夠輕易論斷。閱讀商業人物傳記的醍醐味就在於品味作者究竟能把握主角人物的性格或價值觀到什麼程度,甚至是意在言外的心思。我想,與其說《貝佐斯經濟學》是在描寫貝佐斯這個人,我更傾向於認為,本書作者的寫作目的是希望世人透過貝佐斯理解「亞馬遜」這間公司。既推崇讚揚其改變世界的巨大能量;同時也不吝抨擊指責亞馬遜對於個人或者小商家的造成的傷害與壓迫。
當然,書中也沒缺少了那段,凡是貝佐斯傳記書中都會提到的經典情節,源自其外公的教誨:「有一天你會明白,善良比聰明更難」。以及那些被讀者被視作神乎其技般的商業管理方法:「六頁報告」、「第一天心態」、「把顧客放在第一位」的準則、著眼於十年、數十年的長遠利益,不計較短期損失投入研發......,若是希望從亞馬遜這個成功案例中偷學到一些商管方法論的讀者,肯定也會大呼收穫良多。
貝佐斯經濟學:掌握個人數據、預測並創造需求
儘管通往成功的路徑諸多且紛亂,貝佐斯或許就是掌握到最簡易的一條道路,這是自《從 A 到 A+》作者柯林斯那得到的啟發,即不斷地追求卓越,超越過去的自己,給予顧客更好的體驗。掌握到數位時代最大的金礦山:個人數據。透過亞馬遜尊榮會員的大數據,結合 AI 飛輪,反覆不斷優化演算法來滿足顧客需求,甚至是超前部署,預測、創造連顧客自己都還不曉得的需求。也正是本書書名的核心-貝佐斯經濟學的定義。
在如此多創新的商管方式中,我個人特別想提其中一點,那就是「六頁報告」。
拋開慣常的投影片簡報模式,僅用六頁報告詳盡說明,就在兩片披薩能餵飽的人數,眾人會議第一件事情,是仔細閱讀報告,然後一行一行提出問題、解答......真是讓人心生嚮往。至少,個人有切身之痛。
回想職場生涯中總是有許多冗長且不曉得目的是什麼的會議,或者是與合作對象煞有其事地約定時間開會,在那高檔的辦公會議室、配著特別訂購的中午便當,邊看著投影幕上秀出炫麗特效的簡報投影片,但就在報告之後,參與的同事依然充滿問號,不解合作的後續究竟該如何進行?而且這如此「外強中乾」的會議,在某些產業還是例行的常態。
當然,作者也勇於批評亞馬遜作為一頭跨國壟斷巨獸企業所產生的問題。
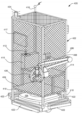
比如小商家上架獨特的商品後,這隻巨獸便透過後台的數據演算,很快地在自有品牌中推出類似商品,讓許多商家因此倒閉;又或是傳聞中設計讓倉庫員工在籠子中工作的不人道專利、以及放任第三方國家,中國對其他商舖的惡性檢舉......,雖然作者的筆毫不留情,卻又往往會提幾句見解為貝佐斯開脫,但身為讀者也不難想像,如此巨大的資本結合大量的消費者行為數據以及最先進的人工智慧演算法,這簡直是科幻小說的反派設定!而事實上,貝佐斯也確實屢屢捲入報章媒體的攻擊以及各項法律訴訟。

員工在籠子中操控機械手臂來拾取與整理貨品(圖片來源:美國專利商標局)
那,貝佐斯經濟學的理念是否可能為惡呢?譬如,當消費者獲得更便利、更懶惰的體驗時,會不會其實是心甘情願交出自己更可貴的價值,去換取這些便利呢?好比「個人隱私」。
最棒的一個例子,就是廣受好評的新產品:Amazon Alexa 智慧音箱。

Photo by Nicolas J Leclercq on Unsplash
對消費者而言,只要躺在沙發上,張口說話就能夠下單購買自己需要的物品,甚至連小孩子的玩笑話、餅乾、糖果或玩具屋也都一併買單後,售後不退,購物體驗還能比這更加簡單嗎?過去,各企業往往急於找出消費者的需求,但現在一切商業行徑的依據就像是在人類生活中裝上監視器,藉由窺視探索預測出世人的需求。你抽什麼菸?愛喝什麼酒?還是喜歡在週五晚上來點洋芋片......?林林總總可能連自己都記不清楚的生活細節,現在都逃不出亞馬遜這個巨大的生態系。
說了這麼多,所以如果要以隱私交換便利,你願意嗎?
這恐怕已經不是要或不要的選擇問句了,我們需要思考的是,你要讓亞馬遜滲入到自己生活的程度有多高!







